OMG-OCEB2-FUND100 Practice Questions
OMG-Certified Expert in BPM 2 - Fundamental
Last Update 3 days ago
Total Questions : 90
Dive into our fully updated and stable OMG-OCEB2-FUND100 practice test platform, featuring all the latest OMG Certification exam questions added this week. Our preparation tool is more than just a OMG study aid; it's a strategic advantage.
Our free OMG Certification practice questions crafted to reflect the domains and difficulty of the actual exam. The detailed rationales explain the 'why' behind each answer, reinforcing key concepts about OMG-OCEB2-FUND100. Use this test to pinpoint which areas you need to focus your study on.
Choose the correct answer:
What are the two major groups (enterprise-level categories) in the APQC Process Classification Framework?
Choose the correct answer:
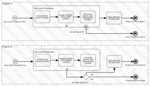
Which statement is true regarding the two diagram fragments?

Choose the correct answer:
A user wants to borrow a book from her public library. At the library, she checks the avallability of the book. If it is available, she borrows it. If it is borrowed by an other user, she reserves the book and borrows it when it is returned by the other user. If the book is available at another location, she orders the book and borrows it when it arrives from the other location.
Which BPMN diagram depicts this process?


Choose the correct answer:
Which diagram could mean after completing task A, wait one hour before starting task B?

Choose the correct answer:
Which statement properly describes the following process?

Choose the correct answer:
Michael Porter created a strategic thinking framework called Porter's Five Forces.
Which is a set of those forces?
Choose the correct answer:
Which statement is true about the following process?

Choose the correct answer:
In Six Sigma analysis, the distinction between "common cause of variation" and "special cause of variation" is a key distinction.
In this diagram, which data points are characterized by common cause of variation?

Choose the correct answer:
In which order are activities C and D in this diagram executed?


